Part Design Drawing

2024 Nov, Thu

Replies: 1, Views : 163

H

Hüseyin GÖZE

Türkiye

Part Design Drawing

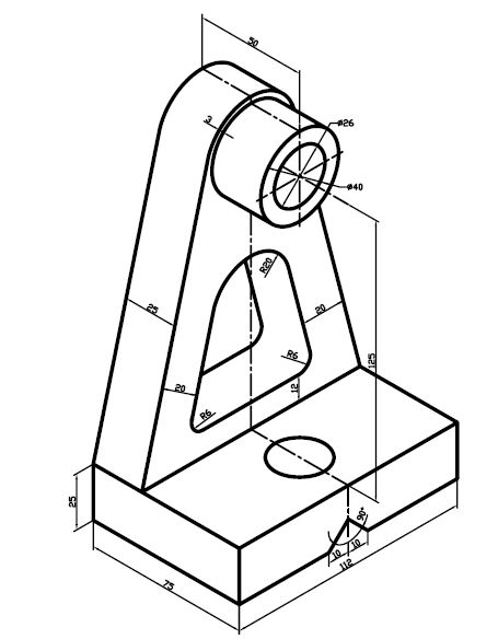
If you want to see how to create this drawing, you can watch video by clicking picture of link.

Share

Replies

There are no comments yet.
Weather Data Source: Wettervorhersage 21 tage